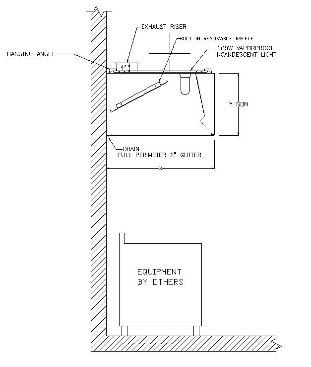
Double Wall with Gutter and (1) REM Baffle